SNMA森力瑪電機YP-50-1.5-4/1.5KW/380V50HZ/SENLIMA馬達










YP變頻系列2極型號:
YP-50-0.37-2 YP-50-0.55-2 YP-50-0.75-2 YP-50-1.1-2 YP-50-1.5-2 YP-50-2.2-2
YP-50-3-2 YP-50-4-2 YP-50-5.5-2 YP-50-7.5-2 YP-50-11-2 YP-50-15-2
YP-50-18:5-2 YP-50-22-2 YP-50-30-2 YP-50-37-2 YP-50-45-2
YP變頻系列4極型號
YP-50-0.18-4 YP-50-0.25-4 YP-50-0.37-4 YP-50-0.75-4 YP-50-1.5-4 YP-50-2.2-4
YP-50-3.0-4 YP-50-5.5-4 YP-50-7.5-4 YP-50-11-4 YP-50-15-4 YP-50-18.5-4
YP-50-22-4 YP-50-30-4 YP-50-37-4 YP-50-45-4 YP-50-75-4 YP-50-90-4
YP-50-110-4 YP-50-132-4 YP-50-160-4 YP-50-200-4 YP-50-250-4 YP-50-315-4
YP變頻系列6極型號
YP-50-0.18-6 YP-50-0.25-6 YP-50-0.37-6 YP-50-0.55-6 YP-50-0.75-6 YP-50-1.5-6
YP-50-2.2-6 YP-50-3.0-6 YP-50-5.5-6 YP-50-7.5-6 YP-50-11-6 YP-50-15-6
YP-50-18.5-6 YP-50-22-6 YP-50-30-6 YP-50-37-6 YP-50-45-6 YP-50-75-6
YP-50-90-6 YP-50-110-6 YP-50-132-6 YP-50-160-6 YP-50-200-6 YP-50-250-6
YP-50-315-6
YP變頻系列8極型號
YP-50-0.18-8 YP-50-0.25-8 YP-50-0.37-8 YP-50-0.55-8 YP-50-0.75-8
YP-50-1.5-8 YP-50-2.2-8 YP-50-3.0-8 YP-50-5.5-8 YP-50-7.5-8
YP-50-11-8 YP-50-15-8 YP-50-18.5-8 YP-50-22-8 YP-50-30-8
YP-50-37-8 YP-50-45-8 YP-50-75-8 YP-50-90-8 YP-50-110-8
YP-50-132-8 YP-50-160-8 YP-50-200-8 YP-50-250-8 YP-50-315-8
YPNC系列型號:
YPNC-50-4-A YPNC-50-5.5-A YPNC-50-7.5-A YPNC-50-11-A YPNC-33.3-4-A
YPNC-33.3-5.5-A YPNC-33.3-7.5-A YPNC-33.3-15-A YPNC-50-1.5-B
YPNC-50-2.2-B YPNC-50-3.7-B YPNC-50-5.5-B YPNC-50-11-B
YPNC-50-15-B YPNC-50-18.5-B YPNC-22-50-B YPNC-37-50-B
YPNC-50-45-B YPNC-33.3-1.5-B YPNC-33.3-2.2-B YPNC-33.3-3.7-B
YPNC-50-7.5-B YPNC-33.3-7.5-B YPNC-33.3-11-B YPNC-33.3-15-B
YPNC-50-15-A YPNC-33.3-5.5-B YPNC-18.5-B YPNC-33.3-22-B
插裝閥的結構及原理

插裝閥又稱為邏輯閥,是一種較新型的液壓元件,它的特點是通流能力大、密封性能好、動作靈敏、結構簡單,因而主要用于流量較大的液壓系統或對密封性能要求較高的系統。本文蘇州逐利就來總結一下各種插裝閥的結構及其原理。
1.插裝閥的結構原理及符號
如圖1所示,它由控制蓋板1、插裝單元(由閥套2、彈簧3、閥芯4及密封件組成)、插裝塊體5和先導元件(置于控制蓋板上,圖中沒有畫出)組成。由于這種閥的插裝單元在回路中主要起控制通、斷作用,故又稱為二通插裝閥。控制蓋板將插裝單元封裝在插裝塊體內,并溝通先導閥和插裝單元(又稱主閥)。通過主閥閥芯的啟閉,可對主油路的通斷起控制作用。使用不同的先導閥,可構成壓力控制、方向控制或流量控制,并可組成復合控制。將若干個不同控制功能的二通插裝閥組裝在一個或多個插裝塊體內便組成液壓回路。

就工作原理而言,二通插裝閥相當于—個液控單向閥。A和B為主油路僅有的兩個工作油口(稱為二通閥),X為控制油口。改變控制油口的壓力,即可控制A、B油口的通斷。當控制口無液壓作用時,閥芯下部的液壓力超過彈簧力,閥芯被頂開,A與B相通,至于液流的方向則視A、B口的壓力大小而定。反之,控制口有液壓作用,當px≥pA、px≥pB時,才能保證A口與B口之間關閉。這樣,就起邏輯元件的“非”門作用,故也稱為邏輯閥。
插裝閥按控制油的來源可分為兩類:第一類為外控式插裝閥,控制油由單獨動力源供給,其壓力與A、B口的壓力變化無關,多用于油路的方向控制;第二類為內控式插裝閥,控制油引白閥的A或B口,并分為閥芯帶阻尼孔與不帶阻尼孔兩種,應用比較廣泛。
2.方向控制插裝閥
有單向閥和換向閥兩種。
(1)單向插裝閥。如圖2所示,將X口與A或B連通,即成為單向閥。連通方法不同,其導通方向也不同。前者pA>pB時,錐閥關閉,A與B不通;pB>pA且達到開啟壓力時,錐閥打開,油從B流向A。后者可類似分析得出結論。
(2)液控單向插裝閥。如果在控制蓋板上接一個二位三通液動換向閥來變換X口的壓力,即成為液控單向閥,如圖3所示。若X處無液壓作用,則處于圖示位置,當pA>pB時,A、B導通,A流向B;當pB>pA時,A、B不通。若K`處有液壓作用,則二位三通液控閥換向,使X口接油箱,A與B相通,油的流向視A、B點的壓力大小而定。

(3)二位二通插裝閥。如圖4所示,在圖示狀態下,錐閥開啟,A與B相通。若電磁換向閥通電換向,且pA>pB時,錐閥關閉,A、B油路切斷,即為二位二通閥。
(4)二位三通插裝閥。如圖5所示,在圖示狀態下,左面的錐閥打開,右面的錐閥關閉,即A、O相通,P、A不通。電磁閥通電時,P、A相通,A、O不通,即為二位三通閥。
(5)二位四通插裝閥。如圖6所示,在圖示狀態,左1及右2錐閥打開,實現A、O相通,B、P相通。當電磁閥通電時,左2及右1錐閥打開,實現A、P相通,B、O相通,即為二位四通閥。

(6)三位四通插裝閥。如圖7所示,在圖示狀態,4個錐閥全關閉,A、B、P、0不相通。當左邊電磁鐵通電時,左2及右1錐閥打開,實現A、P相通,B、O相通。當右邊電磁鐵通電時,左1及右2錐閥打開;實現A、O相通,B、P相通,即為三位四通閥。如果用多個先導閥和多個主閥相配,可構成復雜位通組合的二通插裝換向閥,這是普通換向閥做不到的。

3.壓力控制插裝閥
在插裝閥的控制口配上不同的先導壓力閥,便可得到各種不同類型的壓力控制閥。圖8 (a)所示為用直動式溢流閥作為先導閥來控制主閥用做溢流閥的原理圖。A腔壓力油經阻尼小孔進入控制腔和先導閥,并將B口與油箱相通。這樣錐閥的開啟壓力可由先導閥來調節,其原理與先導式溢流閥相同。如果在圖8 (a)中,當B腔不接油箱而接負載時,即為順序閥。在圖8(b)中,若二位二通 電磁換向閥通電,則作為卸荷閥用。
圖8 (c)所示為減壓閥原理圖,主閥芯采用常開的滑閥式閥芯,B為進油口,A為出油口。A腔壓力經阻尼小孔后通控制腔和先導閥,其工作原理和普通先導圖(見圖8)壓力控制插裝閥式減壓閥相同。

此外,若以比例溢流閥作為先導閥代替圖中的直動式溢流閥,則可構成二通插裝電液溢流閥。
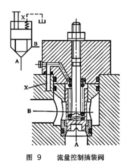
4.流量控制插裝閥
如圖9所示,在插裝閥的控制蓋板上增加閥芯行程調節器,以調節閥芯開度,則錐聞可起流量控制閥的作用。若在二通插裝節流閥前串聯一個定差減壓閥,就可組成二通插裝調速閥。若用比例電磁鐵取代節流閥的手調裝置,則可組成二通插裝電液比例節流閥。

插裝閥產品介紹:國內生產的產品有TJ系列、Z系列、力士樂系列等,這些產品除結構上有所區別外,壓力等級均是31.5MPa,通徑范圍Фl6~Ф160mm。
本文由蘇州逐利機電整理發布,如需轉載請瀏覽來源及出處,原文地址:http://m.mfchsuyu.cn/dj/569.html
上一篇:SNMA馬達 YP-50-3-2 YP-50-1.5-4電機 YPEJ-50-0.55-4 YP-50-11-4






留言信息