SVNX磁性開關MODEL:CS1-S DC/AC5-240V 100MA 10W CS1-F/U/G/J










CMSE-020二線制2米
CMSG-020二線制2米
CMSH-020二線2米
CMSJ-020二線制2米
CS10-G020
CS1-A CS1-E CS1-F CS1-F (1.5米) CS1-F 020 CS1-F020 CS1-FB(常閉型) CS1-G CS1-G (1.5米)
CS1-G 020 CS1-H CS1-H 020 CS1-J CS1-J (1.5米) CS1-J 020 CS1-J020 CS1-JB(常閉型) CS1-M(直插型)
CS1M-020S10 CS1-M020-S10
CS1A-020 CS1M-020S12
CS1-M020-S12 CS1M-020S16 CS1-M020-S16 CS1-M020-S20 CS1M-020S25 CS1-M020-S25 CS1M-020S32
CS1-M020-S32 CS1M-020S40 CS1-M020-S40 CS1M0-20S50 CS1-S CS1-S (1.5米) CS1-SB(常閉型)
CS1-U CS1-U 020 CS1-U(1.5米) CS1-U020 CS1-UB(常閉型)
D-A54 D-A73 D-A93 D-C73 D-F8B D-F8N D-M9B D-M9N D-M9P
DMSE-020 DMSE-020二線制2米 DMSG-020 DMSG-020二線制2米 DMSG-N020 DMSH-020
DMSH-020二線制2米 DMSJ-020二線制2米 DS1A-020 D-Z73 M10(SC80-SC100缸徑) M12(SC125缸徑)
M16(SC160缸徑) M20(SC200缸徑) M6(SC32-50缸徑 M8(SC63缸徑)
插裝閥的結構原理及基本組件
插裝閥的典型結構及其基本組件。
1 插裝閥概述
二通插裝閥是插裝閥基本組件(閥芯、閥套、彈簧和密封圈)插到特別設計加工的閥體內,配以蓋板、先導閥組成的一種多功能的復合閥。因每個插裝閥基本組件有且只有兩個油口,故被稱為二通插裝閥,早期又稱為邏輯閥。
1.1 二通插裝閥的特點
二通插裝閥具有下列特點:流通能力大,壓力損失小,適用于大流量液壓系統;主閥芯行程短,動作靈敏,響應快,沖擊小;抗油污能力強,對油液過濾精度無嚴格要求;結構簡單,維修方便,故障少,壽命長;插件具有一閥多能的特性,便于組成各種液壓回路,工作穩定可靠;插件具有通用化、標準化、系列化程度很高的零件,可以組成集成化系統。
1.2 二通插裝閥的組成
二通插裝閥由插裝元件、控制蓋板、先導控制元件和插裝塊體四部分組成。圖1是二通插裝閥的典型結構。

圖1 二通插裝閥的典型結構
控制蓋板用以固定插裝件,安裝先導控制閥,內裝棱閥、溢流閥等。控制蓋板內有控制油通道,配有一個或多個阻尼螺塞。通常蓋板有五個控制油孔:X、Y、Z1、Z2和中心孔a(見圖2)。由于蓋板是按通用性來設計的,具體運用到某個控制油路上有的孔可能被堵住不用。為防止將蓋板裝錯,蓋板上的定位孔,起標定蓋板方位的作用。另外,拆卸蓋板之前就必須看清、記牢蓋板的安裝方法。

圖2 蓋板控制油孔
先導控制元件稱作先導閥,是小通徑的電磁換向閥。塊體是嵌入插裝元件,安裝控制蓋板和其它控制閥、溝通主油路與控制油路的基礎閥體。
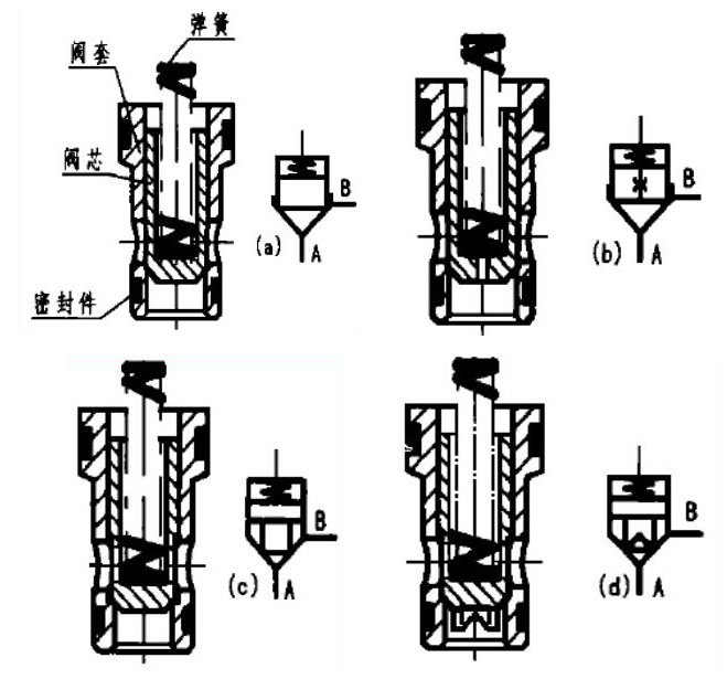
插裝元件由閥芯、閥套、彈簧以及密封件組成(圖3)。每只插件有兩個連接主油路的通口,閥芯的正面稱為A口;閥芯環側面的稱作B口。閥芯開啟,A口和B口溝通;閥芯閉合,A口和B口之間中斷。因而插裝閥的功能等同于2位2通閥。故稱二通插裝閥,簡稱插裝閥。

圖3 插裝元件
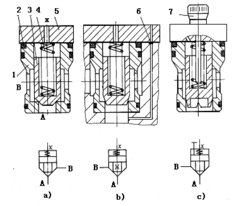
根據用途不同分為方向閥組件、壓力閥組件和流量閥組件。同一通徑的三種組件安裝尺寸相同,但閥芯的結構形式和閥套座直徑不同。三種組件均有兩個主油口A 和B、一個控制口x,如圖4所示。

圖4 插裝閥基本組件
a)方向閥組件 b)壓力閥組件 c)流量閥組件
1-閥套 2-密封件 3-閥芯 4-彈簧 5-蓋板 6-阻尼孔 7-閥芯行程調節桿
本文由蘇州逐利機電整理發布,如需轉載請瀏覽來源及出處,原文地址:http://m.mfchsuyu.cn/kg/384.html






留言信息